銷售維修熱線: 400-090-5550
傳真:+86-755-26517900
總機:+86-755-26517000
郵件:cadro@cadrolift.com
安裝合規合法的汽車尾板,真的很簡單!
交通運輸部聯合相關單位研究起草了《車用起重尾板安裝與使用技術要求》國家標準,標準已于2019年12月1日實施,標準號GB/T 37706。2020年01月09日交通運輸部辦公廳、工業和信息化部辦公廳、公安部辦公廳、市場監管總局辦公廳發布關于做好《車用起重尾板安裝與使用技術要求》貫徹實施工作的通知,指導車用起重尾板國標執行具體事項。

《通知》中強調了多部門聯合確保尾板國標落地,促進貨運市場節能增效。尾板國標已經執行近6個月,全國各地交管部門已經執行尾板國標相關要求,開展辦理尾板安裝合法化登記業務。
相關部門對國標實施給予足夠的支持,只要車輛有尾板選裝公告,選一家合規品牌的尾板,就可以做合規登記了。安裝合規合法的尾板就是這么簡單!
公告要求

車輛選裝尾板公告是主機廠及車輛改裝企業做的,在此不做細說。
查詢公告操作
掃碼關注微信公眾號,點擊右下角“公告查詢”,輸入車輛型號,即可查詢。


那么國標對尾板產品都有神馬要求呢?
看文件, 一定要看文件哦.......
一定要看文件.......
一定要看文件.......
相關文件要求
1.生產銷售的尾板應符合《車用起重尾板》(QC/T 699)規定,并經取得資質認定的檢測機構檢測合格;
2.尾板安裝企業要按照《車用起重尾板安裝與使用技術要求》(GB/T 37706)以及相應的標準檢測要求,核驗尾板加裝檢驗對應的檢測項目。
國標中對尾板各種技術參數作出了明確的要求,并且強制尾板企業必須做第三方權威機構產品檢測并檢測合格。

我們先看看檢測什么

檢測項目太多了,選擇尾板時都要一一核對嗎?
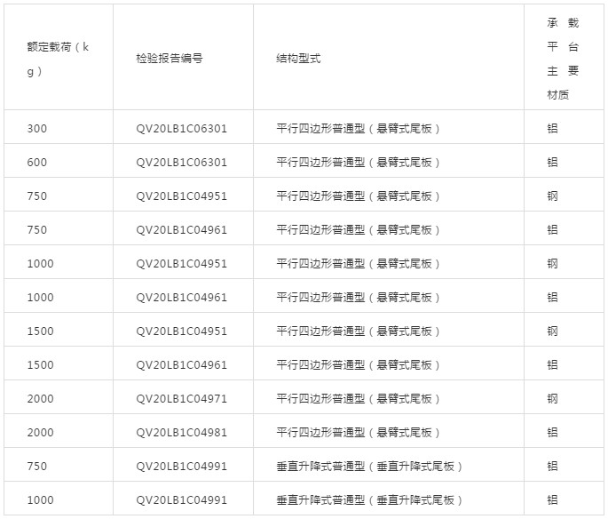
當然不用,我們只看檢測報告,如上文件就是完整的檢測報告,每款合規的尾板產品都會對應有一個報告編號。
凱卓立尾板全系產品對應檢測報告編號
(主機廠、改裝企業可關注“凱卓立官方服務號”微信公眾號,在線申請,索取報告證明)

因受疫情影響,尾板產品的強制檢測的要求,相關部門給予一定時間,允許產品合格的企業延后檢測,所以目前市場中在銷售的尾板產品很少有完整的產品檢測報告。
為什凱卓立有全系產品檢測報告?
在行業內凱卓立在2016年就率先開始做尾板產品檢測。

2004年起草尾板企業標準QC/T699—2004《車用起重尾板》;
2015年參與起草、制定尾板安裝行業技術標準JT/T962—2015;
2018年主導起草尾板國家標準GB∕T37706,2020年正式實施;
凱卓立,20余年致力尾板安裝合法化!